MIDI for Organists
Home Up Other Publications Contact Me About the Author About this Website Prog Organ - a VPO Sitemap What they say

 

 

MIDI for Organists

by Colin Pykett

 

Posted: 8 October 2001

Last revised: 6 July 2020

Copyright © C E Pykett

 

 

Abstract.  MIDI (Musical Instrument Digital Interface) is a system developed by the commercial electronic music industry to enable the products of various manufacturers, such as synthesisers, to be connected together.  It also appears  in some electric action pipe organs which use electronic transmission to connect the console to the pipes.  Organists need to be aware of the implications for their art of playing an organ which employs MIDI, and this paper outlines some of the possible consequences.

 

Contents

(click on the headings below to access the desired section)

· Foreword - setting the scene and what this article is about

· Introductionwhat MIDI means for organists and why they need to understand it

· Transmitting the messagethe essentials of Electronic Transmission

· What is MIDI?A brief technical description

· A simple MIDI system

· A more complex MIDI system

· Some MIDI problems:

the inexcusable

o choke

o delay

· Polyphony

· Likely future developments

o The self-correcting organ

o Touch sensitivity in electric actions

· Summary and Conclusions

· Notes and References

 

Foreword - setting the scene and what this article is about

MIDI is not a musical instrument or a box of electronics. It is not a computer or a computer program. It is merely a few pieces of ordinary paper, containing a specification that lays down for electronics engineers a means of sending information electronically from one point to another. It was developed by the pop music industry to enable instruments like synthesisers to be connected together, and for such purposes it does an admirable job. However it can be rather a blunt tool when applied to classical music played on traditional pipe organs because of its inherent limitations. For example it can choke to death under the fecundity of its own data, and it always introduces some time delay. The severity of these phenomena depends on exactly what music is being played and by whom, and so they are unpredictable. Sometimes they will be unnoticeable and at others catastrophic. Moreover, an enlightened system designer sensitive to these limitations may be able to minimise their effects in a system. Nevertheless musicians at the pinnacle of their profession, and indeed most others, deem it essential to draw maximum articulation from the otherwise inexpressive organ in terms of phrasing, and the attack and release of notes. The thesis of this article is that MIDI can sometimes work against this aim in ways that organists need to fully understand.

Considerable efforts have been made to make this article as non-technical as possible. Nevertheless it is a long paper and probably a difficult read, so the gentle reader is advised to take it in stages. For this reason there is a contents list above, from which sections can be selected by clicking on their titles.  For the more technically-minded, more details of the MIDI system are now available in a companion paper on this website 8.

 

Introduction – what MIDI means for organists and why they need to understand it

MIDI is an acronym which means Musical Instrument Digital Interface. It is a system invented in the 1980’s by the major manufacturers of commercial electronic musical instruments for the popular music industry, particularly synthesisers, which enables them all to be connected together in a quick and easy fashion. Therefore a synthesiser from one manufacturer can be plugged in to that from another, enabling all instruments to play (or be played by) each other. The stacks of electronic keyboards often seen on stage when a pop band is performing are connected together in this way, giving the player some of the flexibility organists take for granted in an organ with several manuals and many stops.

Why do organists need to be familiar with MIDI? The answer is that MIDI is being introduced into otherwise entirely traditional organs increasingly frequently. Instruments may incorporate MIDI-dependent means for recording and playing back one’s performances (even in organs with mainly mechanical action!). If the organ has an electric action, the connection between console and organ might rely on MIDI. And in either of these cases, it might be possible for the organ to be connected to other instruments such as synthesisers or electronic organs so that they can be played from the main organ, or so that the main organ can be played by them. And of course many electronic organs rely on MIDI.

But so what? Apart from the convenience of being able to use such facilities when necessary, why should organists go further in their understanding of what is a complex electronic system? Quite simply because the MIDI system introduces effects which can disturb the execution of a piece. Such effects might not always be noticeable, or perhaps only by particularly sensitive players. Nevertheless, MIDI was developed to meet some fairly basic needs of the popular electronic music industry two decades ago. In some musical respects it is "a bit rough". To translate it into environments where musicians of the highest calibre need to draw every possible nuance from an organ in a live performance, perhaps under examination or competition conditions, is to apply it to situations which were not envisaged by its designers. As well as its advantages, the MIDI system has limitations and design compromises which sometimes affect even pop music bands (and they are well aware of them), so it behoves every organist who has the slightest regard for the art to develop an equivalent awareness.

The subject can rapidly become highly technical but the author has tried to prevent this here. MIDI and the associated technology used in organs will only be described at a simple level, with the aid of a few diagrams. Those who wish to develop their understanding can also consult other literature 1. But it should be understood that there always several ways to design electronic systems, and nothing in this article should be read as implying that all organs work exactly in the manner shortly to be described, or that the descriptions necessarily apply to the products of a particular manufacturer. Nor is there any implication that MIDI has to be used at all to realise the functions described later. The intention is merely to convey a flavour of the main issues involved in MIDI because of its ubiquity and the fact that it has limitations as well as undoubted strengths.

A difficult, and in some ways insidious, situation which organists have to cope with is that they often will not know whether MIDI is incorporated in an instrument that they are confronted with. Even the builder of the organ might not be fully aware of what is incorporated in the boxes of electronics he will generally have procured from a specialist trade supplier. Moreover the suppliers themselves might not provide sufficient information for one reason or another. One sure-fire way of telling whether you have a MIDI organ is to see if there is a connector panel somewhere on or near the console with one or more 5-pin DIN sockets (these are the sort sometimes used for connecting hi-fi units together). If so, there will almost certainly be legends such as MIDI IN, MIDI OUT or MIDI THRU associated with these sockets. You can also try some of the tests at the keyboard suggested later in this paper. If these do not reveal the presence of a MIDI system, then there are two possibilities – either MIDI is not present or, if it is, it is unlikely to cause you any problems as a player

Transmitting the Message – the essentials of Electronic Transmission

We shall consider only organs with an electronic (also known as digital, solid state or multiplex) transmission between console and pipes, which are very common. They will not be discussed in detail, as I have published elsewhere a full account of such systems 2. However that paper did not go into as much detail about MIDI as this one will, so the two are complementary. Nevertheless a summary of the principles of electronic transmission follows for completeness.

Figure 1 illustrates the basic scheme, and at this stage let me emphasise we are not yet discussing MIDI. That will come later. So, one can envisage each key contact, drawstop contact and swell pedal contact in a detached console being connected to a huge rotary switch (called a scanner or multiplexer) with several hundreds of positions. The "wiper" of this switch is rotated as rapidly as possible, in step with an identical rotary switch (the demultiplexer) inside the organ chamber. That switch has its contacts connected to each of the chest magnets, slider machines, swell shutter engines, etc which correspond to the contacts in the console. Thus if a key is held down at the console, current will flow to the associated chest magnet in the organ but to no other, provided the two rotary switches remain in step. (Certain complications are necessary, hinted at in the diagram, such as a set of latch circuits to ensure the magnets, once energised, remain energised until the demultiplexer switch gets round to them again. Otherwise the magnets would only "see" a series of very short pulses and consequently they would not respond at all).

A major advantage of the system is that only two wires are needed, in principle, to connect the console to the organ instead of the bundle of hundreds in old fashioned electric actions. Obviously, mechanical rotary switches are not used in view of the scanning speeds required – they are replaced by electronic multiplexer and demultiplexer circuits, and usually these are computer-controlled. Here, however, is a bone of contention – if the scanning speed is not fast enough even using electronics, organists will notice the delay between pressing a key and hearing the sound. This is compounded by the fact that the delay will vary depending on whether the key was pressed just as the scanner was about to "visit" it, or whether the scanner had already moved on. It is this randomly varying delay, rather than the delay per se, which causes some sensitive musicians anxiety. Scanning speeds of as low as 25 scans per second have been reported, which is far too low. (In late 2000 I played a cathedral organ in which the scan rate was 50 times per second, and I felt a perceptible problem even before discovering it was indeed a scanned system. On asking the organist whether he also found it problematical he expressed surprise – if electricity can travel several times round the earth in a second, quoth he, why should it be a problem? Oh dear!). Designers should aim to get scan rates up to at least several hundred per second.

A moment ago I said that only two wires are needed to connect the console to the organ. That would indeed be possible, but the electronic problems can be eased if a few more are included. Among other things this enables the multiplexer and the demultiplexer (the two "rotary switches") to be kept in synchronism in an easier fashion. Organs of this sort may be advertised as having a "small cable connection" between console and pipes, or something similar. Such a cable might be about 15mm in diameter. It is still much smaller and more convenient than the traditional bundle of hundreds of wires in a fat armoured sheath if the console is to be often moved.

What is MIDI? – A brief technical descriptions

In the foregoing description of an electronic transmission the electromagnets of the organ action were worked from short, single, electrical impulses – if an impulse occurred when the demultiplexer visited a particular contact on the rotary switch, then the associated magnet would be energised. If there was no impulse nothing would happen, unless the magnet already happened to be energised from a previous scan, in which case it would be switched off again.

MIDI is quite different. Although it, also, consists of a sequence of electrical messages travelling down a pair of wires, each message is much more complicated than the single pulses discussed hitherto. For present purposes each MIDI message can be thought of as three components, each transmitted using 10 short impulses. Thus the total message requires 30 pulses. For a note on an organ keyboard, the first component of the message indicates whether the note has just been keyed or released (the note-on or note-off indication), the second component indicates the note number (e.g. from 1 to 61 on a five-octave keyboard), and the third component conveys note velocity (i.e. how fast the key was pressed). Also additional information is usually contained in the message, such as which keyboard is being used. For an electric action organ the third component, indicating keying velocity, might seem to be of no use, as the pallets can only respond to simple on or off messages. Moreover, in most pipe organs there is no way in which the velocity of the key can be measured anyway. All of this is true, but redundant key velocity data will usually be sent in a conventional MIDI system even though it conveys no useful information. (There are exceptions but to digress further would be inappropriate at this level of detail). What we are seeing here is a reflection of the genesis of MIDI to control touch-sensitive synthesisers, digital pianos and other electronic instruments such as drums. If a pipe organ used a non-standard MIDI implementation it would not interface to any of these other instruments, nor could it legitimately be called a MIDI system. However, we shall return to the issue of velocity sensing later, as it may start to appear more frequently in pipe organs in the future.

The time required to send each and every three-component MIDI message is almost exactly one millisecond (thousandth of a second), and this time cannot be varied at will by the designer as in the simpler form of transmission described earlier. The timing of MIDI messages is rigidly defined by the MIDI specification, and if it departs from this then the system cannot be described as MIDI – and it will not interface at all to other MIDI instruments. This is an important principle to grasp, as there is no way to speed up a MIDI system if it is not capable of transmitting the necessary information quickly enough.

MIDI systems like to be fed from a multiplexer for various engineering reasons. In other words, the keys are first scanned in the manner already described, then the output from the scanner is fed to a MIDI encoder which generates the proper messages depending on which keys have been pressed or released. Therefore, we are now dealing not only with a scanning delay, but with any delay imposed by the MIDI system in addition. This is also something we shall return to later.

A Simple MIDI System

Figure 2 illustrates a simple MIDI system that might be used in an organ. As far as the organ itself is concerned, it is no different to Figure 1 – a basic multiplexed electronic transmission without MIDI is used between console and pipes in both cases. But the scheme in Figure 2 allows other MIDI-compatible instruments to be connected to the organ, and there are facilities to record and playback one’s performances.

These facilities are made possible by connecting the output of the console multiplexer to a MIDI encoder as well as sending it to the organ chamber. For each note keyed or released, the encoder then makes MIDI messages appear at the MIDI OUT socket, and if this is connected to another MIDI instrument some sort of sound will emerge from it. Note that it will not sound like the pipe organ – MIDI does not transmit sounds, only messages related to which notes are keyed, etc. A typical synthesiser, if connected to the MIDI OUT socket of a pipe organ, will play the same notes as the organ but on an electronic "voice" that is undefined – it might be a "church organ" type of voice, but equally it might turn out to be "bird tweet". You will usually have to play around with the synthesiser settings to get the effect you want (and you may never succeed). Similar problems may afflict a more conventional electronic organ used as the subsidiary instrument. And quite what will happen to the subsidiary instrument when you change the stops on the pipe organ or close the swell box might be even more bizarre.

If there is a MIDI IN socket on the pipe organ, the former subsidiary instrument can also play it. Issues of detailed compatibility may occur as before. For example, quite how you would select the Tuba stop on the solo organ from a synthesiser keyboard could take a long time to sort out. Or the swell keyboard on an electronic organ, used as the main instrument, might play the choir stops on the pipe organ. Usually such issues can be resolved eventually, but it can be an involved and time consuming business and you might need to call on expert help.

Although perhaps mildly entertaining, the foregoing is entirely peripheral to the thrust of this paper, which is to examine what effects MIDI might cause to intrude on an organist when he/she plays a pipe organ. It has been included merely to assist readers in understanding some of the issues surrounding MIDI, including its undoubted flexibility. There is one aspect which may be more pertinent however, and that relates to recording and playback.

Figure 2 also shows a block of computer memory and a floppy disc drive attached to the MIDI coder/decoder unit. MIDI messages are readily suited to manipulation by computers, and it is a simple matter to arrange for them to be stored in memory as you play. The stored messages can then be replayed so that you can hear your own performance, and when satisfied you can copy them onto a floppy disc for more permanent retention. If you are a music teacher you could even send them over the Internet to a pupil!  Again, remember that you are not storing a recording of the sounds of the organ, as would be the case if you used microphones and a tape recorder. You are only storing a digital version of the notes you played, the stops you drew, and the times at which these events occurred relative to the start of the piece. Such facilities are useful for teaching purposes, and for less serious occasions – I once gave a recital during which I rose from the organ and walked away in the middle of a piece. It had been previously recorded into memory, and for the first few bars I merely pretended to play along with it. (The resulting laughter awoke the more somnolent members of the audience and thereby served a useful purpose).

As far as teaching and practice are concerned, one firm has proposed the use of MIDI to generate an orchestral accompaniment to an organ so that the organist can practice a concerto in the absence of the other players 3. Another suggestion in the same article was to facilitate the preparation of Trio Sonatas by allowing a student to play individual parts against those pre-recorded by the teacher.

The system can also be used to edit a flawed performance prior to live recording – the data in the memory or on the disc can be edited by software to become anything the producer wishes. It is then replayed into the instrument while a normal acoustic recording is made with microphones onto a master tape, perhaps in the middle of the night to avoid extraneous noise and at a time when the performer might not have been at his/her best. MIDI makes it all possible, but in principle it is no different to what was done a century ago with player-piano rolls, cut in paper from an original performance by a celebrated player and laboriously edited by hand. Plus ça change ………

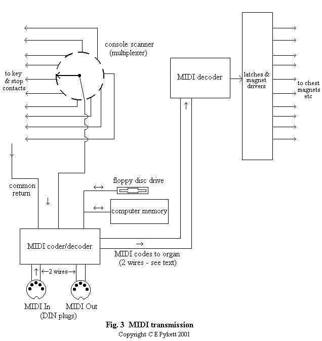
A More Complex MIDI System

We now come to the core of the issue. Figure 3 illustrates an electronic transmission as before, with MIDI record/replay facilities, but one in which the data between the console and organ are also transmitted as MIDI codes. There is no longer any need for a demultiplexer at the organ end of the link because of the way in which a MIDI decoder (which has replaced it) operates. This time, the connection between console and organ is definitely a simple two-wire link. If it is not, the system does not conform to MIDI specifications. Therefore, organs which are advertised as having "two wire connection" might well have a MIDI transmission. (Some organs have a fibre optic or coaxial cable link, and this also might indicate a MIDI system).

The way the system operates is as follows. As long as nothing is changing on the organ, nothing will be transmitted down the link (apart possibly from occasional messages to keep the electronics at either end happy, without which a broken link might be suspected). As soon as the organist does something, such as pressing or releasing a note, drawing a stop or moving a swell pedal, the console multiplexer will pass that information to the MIDI coder. This results in an appropriate MIDI message, one millisecond long, being transmitted down the link to the organ, where the MIDI decoder interprets it and arranges for the necessary response to be taken within the action of the organ. If the organist plays a chord of eight notes on a single department, then eight "note-on" MIDI messages will be sent in succession, not simultaneously. The MIDI system can only transmit one message at a time. When the chord is released another set of eight ("note-off") messages will be sent. The information transmitted down the link is also made available to the computer memory or floppy disc if these are selected by the organist, and the data also appear at the MIDI OUT socket.

Some MIDI Problems

1. The Inexcusable

There are some manifestations of MIDI which occur frequently in the commercial world of pop music but which would be inexcusable if they appeared in a pipe organ, or even an electronic organ.  Fortunately it is easy to test for them, and it is one of the first things you should do.

Make sure all of the stops are off, then hold down a note on one of the keyboards.  While continuing to keep the note depressed, draw a speaking stop on that department and check that the appropriate pipe sounds.  This test might seem so trivial as to be ridiculous, but you will find it is one that some MIDI-controlled instruments will fail!  If you are going to give a recital on a modern electric action pipe organ, you will be better prepared if you are aware of this potential shortcoming.  If your organ fails the test, release the key and then press it again - the note will then undoubtedly sound.  

Similar problems may occur if stops are added or removed while notes remain keyed - the expected effects will not take place until new notes are played.  The problem can also be manifested when drawing or putting in couplers, or when using the combination pistons.  It is most disconcerting to find that an array of draw stops moves correctly in response to the piston you have just pressed, yet nothing whatever happens to the sound.

If your organ suffers from this type of problem the best advice is to never to approach it again - there is absolutely no excuse for it.  (When drafting this article I suggested at first that you might put a match to the organ, but decided that would invite needless litigation from enraged churchwardens.  So don't do that).  The reason the problem occurs is because the microprocessor system which scans the keyboards, stops and pistons is not programmed cleverly enough to anticipate the demands of normal playing, perhaps because the software was written by someone who does not play (regrettably a not infrequent phenomenon), or perhaps because they were not up to the job anyway (we are all familiar with bug-ridden computer software, aren't we).

2. Choke

We have just seen that a MIDI message is sent each time something changes, and that a chord will result in several messages in succession. Now consider the following. If one note was to be played on the great organ of a four manual organ, with all other manuals coupled to it and with the swell sub and super octave couplers drawn and coupling through, then six MIDI messages would need to be sent down the data link - one for the note actually played on the great, one each for the other three manuals, and another two for the sub and super octaves. If a chord of eight notes was played in these circumstances, 48 MIDI messages would result. (We shall ignore the missing notes inseparable from the use of octave couplers). If two notes were also played on the pedals, coupled to all the manuals and with the sub and super coupling through, an additional 14 messages would be required. This makes a total of 62 MIDI messages, all sent in succession down the single two-wire link just to encode the one chord on full organ. When the chord was released another 62 messages would have to be sent before all the pipes would be silenced.

It must be appreciated that this description might not apply necessarily to all organs, and system designers might be able to reduce the number of messages involved. However the description is typical of many systems, and in circumstances such as these MIDI systems can sometimes suffer from what is called choke. The system chokes on the amount of data it is trying to generate, transmit and interpret, and in the worst case the system will collapse and have to be reset. This might mean having to switch the organ off and on again. This cataclysmic event might be heralded, for example, if some notes remain sounding when a full chord is released. Although a well designed system will seldom exhibit choke it is nevertheless a recognised shortcoming of MIDI. Precautions taken by the designer to avoid choke might result in less serious fault conditions arising, such as missing notes when a chord is played or pipes which cease sounding too slowly when it is released. The problems are likely to be exacerbated if the player is simultaneously creating additional demands on the system by manipulating the combination pistons. Moving from a loud combination to a soft one by pressing a general piston could result in perhaps 70 stops moving on a large organ, with a similar number of messages trying to crowd down the link to actuate the corresponding sliders. If this happens at the same time as "information-heavy" music is being played, you can see the potential for choke.

Things could be worse if extension is used, such as in a cinema organ or a heavily extended church organ. Let us examine why. In the foregoing it was tacitly assumed that an organ with slider soundboards was under discussion. In such instruments it would only be necessary to send one MIDI message to open the pallet corresponding to a particular key on a given department. Then, all pipes for which the sliders were drawn would sound. But in an extension organ, all stops would be on separate unit chests with individual valves operated by individual magnets. Depending on how the system was designed, it might be necessary to send several MIDI messages instead of just one each time a key was pressed or released – each message would actuate a pipe for each stop that was drawn.

Consider just a small extension organ with two manuals and eight extended ranks per department. The number of stops per department at the console might be very large, as in a cinema organ, but for the sake of simplicity assume that the stops drawn are such that only one pipe per rank sounds when a note is pressed. When a note was pressed eight MIDI messages would be required to actuate the valves of one department. Sixteen messages would be required if the manuals were coupled. Eight times this number, 128 messages, would be required if an 8-note chord was keyed. Yet more would result if more stops were drawn. And this is just for a small organ! Such an instrument might suffer badly from choke.

It is possible to get round such problems by skilled design, but impossible to eliminate them entirely. MIDI choke remains a real and acknowledged problem, and you need to be aware of it and how to test whether it exists on your instrument. Playing a rapid succession of full chords and rapid scales with everything coupled up is the obvious thing to do. A piece such as Transports de Joie from Messiaen’s L’Ascension would be a good test as it contains both. Another test is to play a piece of contrapuntal music as rapidly as possible, again with all departments coupled, whilst simultaneously pressing general pistons or sequencers, and operating the swell boxes randomly. Then do the same thing again but hold down a full chord instead. If nothing untoward happens then you probably have little to worry about as far as choke is concerned.

3. Delay

This is another term in the MIDI vocabulary, but there is some confusion as to what it means and different people have different ideas. One definition relates to a situation where several instruments such as synthesisers are chained together. In such a case a point can be reached where the final instrument in the chain will not operate reliably owing to the MIDI signal being degraded as it passes from one to another. Some of the manifestations of the problem can result in delays in notes switching on or off for the remote instrument. This is a pop music scenario which does not concern us. We are chiefly concerned about whether MIDI introduces a perceptible delay between an action of the performer at an organ console, such as keying a note, and hearing the resulting sound.

Referring again to Figure 3, we have seen already that the console scanner will introduce some delay of its own, and this delay will vary depending on where the scanner is in the scanning cycle at the instant a note is keyed. Let us assume the designer has arranged for the scanner to work at a laudable 500 scans per second. This is much higher than in many organs, and it would result in a maximum delay introduced by the scanner of 1/500th of a second, or only two milliseconds. This is a small amount and unlikely to be subjectively perceptible on its own. Now, looking back at the earlier section on choke, we imagined a chord being played on a four manual organ fully coupled up, and saw that 62 MIDI messages would need to be sent to the pipes before all were sounding. 62 messages occupy 62 milliseconds, so the total time delay of the entire system (scanner plus MIDI) equals 64 milliseconds. More to the point, the MIDI messages take over 30 times longer to send than the scanner takes to execute one scan cycle. Thus, no matter how fast the scanner works, the involvement of MIDI sets an upper limit to the speed at which the data can be sent to the pipes.

This is a situation that the serious musician must appreciate and understand. A time of 64 milliseconds is highly perceptible – it is about one fifteenth of a second. Therefore MIDI is smearing out the onset of speech of the pipes involved in our chord by this interval even though we want them to begin speaking simultaneously. It is worth remembering at this juncture that an old fashioned electric action with its huge bundles of wires and other inconveniences would not exhibit this problem – each pipe has its own connection to the console and there is no extra electronic time delay imposed by the machine on the artist.

Again, as with the discussion on choke, imagine the small two manual extension organ described earlier. We saw that with an unenlightened electronic design, that organ could require typically 128 MIDI messages to transmit an 8 note chord (neglecting pedals!). With all stops drawn it could be much greater. This time the onset of speech would be smeared out by 128 milliseconds, or about 1/8th of a second! When the chord was released the same time interval would be required before all pipes were switched off. Therefore if you were playing repeated chords, their repetition rate could not exceed about four chords per second before they began to merge into each other. This would be an intolerable intrusion into the musicality of the organ.

Similar keyboard tests to those suggested earlier could be used to assess these delays.

Another useful piece is the final section of Mulet’s Carillon – Sortie, with its rapid 6-against-4 figuration extending over several pages. Let us examine this more quantitatively. My copy is marked Allegro without a metronome marking. So if one plays it at crotchet = 120 beats per minute, it is possible to calculate the rate at which notes alternate between the right and left hands in this section of the piece. We would of course be playing this section on something approaching full organ since it is marked fff, so it would not be unreasonable to take our previous figure of 6 milliseconds as the time required for all the pipes for a single note to be switched on or off.

The right hand is playing semiquaver chords of two notes, each separated from the next by an interval of 125 milliseconds (1/8th of a second). The left hand plays single notes, separated by 83 milliseconds (1/12th of a second). The notes played by the two hands either coincide or they are separated by about 40 milliseconds. How do the MIDI timings compare with these figures?

Each chord in the right hand takes 12 milliseconds to transmit (6 milliseconds per note), but because the previous chord has to be switched off first this has to be doubled, giving 24 milliseconds. Each note in the left hand takes 6 milliseconds to transmit, doubled as before, giving 12 milliseconds. Adding these times together gives 36 milliseconds. And including the scanning time uncertainty of the multiplexer we have to add another 4 milliseconds. So there is a total timing uncertainty introduced by the transmission between the alternating pairs of notes in this music which equals 40 milliseconds. By coincidence this happens to be the same as the actual time separation of the notes themselves. The conclusion is that MIDI will in effect fill in the gaps between the notes whilst it is struggling to turn them on and off, producing a sort of continuous acoustic smear in the sound produced.

No matter how precisely the organist tries to play this difficult piece, this particular organ transmission will defeat his/her best efforts to secure brilliance and exactness. Were the instrument the extension organ described above, where the time to switch on or off a single note on two coupled manuals was 16 milliseconds instead of 6, the situation would be entirely hopeless. In fact the transmission would probably choke, and this analysis shows why choke can occur so unexpectedly frequently.

The same analysis can be applied to Widor’s Toccata from his Fifth Symphony. A major interpretational feature of this piece is to achieve the subjective accent on the first of each pair of quaver chords occurring throughout. This can only be achieved on the organ by meticulous attention to timing, particularly by ensuring that the preceding semiquaver chord-pairs are detached. The Hamelle edition makes this clear. Most players take this piece at crotchet = 120 per minute or more, and at this speed the semiquaver chords are separated by 125 milliseconds at least. Doing the same arithmetic as before with a delay of 6 milliseconds per note, we find that a MIDI transmission would insert a "sound smear" of about 50 milliseconds in the gap between the semiquaver chords. This would considerably hinder attempts to make these chords sound detached and thereby degrade the subjective accent required on the succeeding quaver. It is an example of how MIDI could reduce the articulative capability of an action that might otherwise respond perfectly satisfactorily.

 

Pieces such as these form an excellent test for the transmission of an organ. If the delays we have been speaking of are of musical significance it is likely you may trip yourself up unexpectedly, and at worst some passages will be unplayable at reasonable velocity. The subjective effects will be most noticeable if you are used to playing on a responsive mechanical action. If you have the opportunity to play one of today’s organs with dual tracker and electric consoles, it is instructive to test both types of action using identical test pieces!

We must all have had the experience that such pieces simply seem to "go" on some organs and not on others. Self-deprecatingly, we tend to blame ourselves most of the time but by looking into the technology used perhaps we should point the finger elsewhere more often. Last year I played a modern electronic organ, which used MIDI like many of the breed, and found that all of these favourite test pieces were noticeably difficult to play. Many people assume mistakenly that electronic organs respond instantaneously, but comparison with the small pipe organ I played each week was unflattering. This organ had an old-fashioned electric action and a detached console connected with two fat bundles of wires. Give me that unpretentious pipe organ any day for sheer musicality in terms of its much better articulation.

Finally, we have seen already that key velocity is not usually measured in pipe organs. However in a later section it will be shown that velocity measurements are being contemplated to enable the pallet to follow the key movement more precisely. If velocity is measured, we shall also see that this introduces potentially yet another source of time delay in MIDI systems.

Polyphony

In the electronic music business polyphony means the number of notes that can be played simultaneously. Synthesisers and electronic organs generally have an upper limit, and not long ago it was common to find electronic organs which could not cope with more than eight notes in a chord, for example. This caused particular problems when the pedals were coupled as well. Some synthesisers might appear to have virtually unlimited polyphonic capability on paper but are found to be less capable when many "presets", "instruments",  "voices" or "patches" are demanded as well.

It seems that poor old MIDI sometimes gets blamed for this, but in fact the culprit is more likely to be a limitation on the amount of sound-generating hardware these instruments incorporate. In a pipe organ the corresponding limit is the number of pipes, so there is no analogous problem to speak of. However it is possible that MIDI alone could result in this problem in an ineptly designed system, so it is worth testing an organ for the shortcoming. Extension organs would probably be more at risk. Pieces such as Karg-Elert’s Nun Danket or Nieland’s Marche Triomphale would probably reveal the problem if it existed, and it would be manifested by notes dropping out of chords, or notes that were missing when a chord was first played.

Likely future developments

Several developments are in the wings in the areas discussed in this article, and these will be reviewed briefly together with some references which will enable interested readers to pursue them further. It is possible, indeed likely, that all of them will involve the use of MIDI.

The self-correcting organ

One firm has proposed an organ that will automatically correct wrong notes as the organist plays 3. The system would store the performance that the player preferred in the manner described already, and then self-correct notes in future live performances that do not match the stored version.

Touch sensitivity with electric actions

In a mechanical action organ the player has control over the speed at which the pallet opens and closes, because it is connected directly to the key. There is little dispute that this gives the player additional control over the way pipes begin and terminate their speech, with consequential benefits to articulation 4. Considerable effort is now being devoted to electric actions which offer the same benefits.

A mechanical action confers what is called fully-proportional control. In other words, the position of the pallet at any instant is always related to the position of the key. An approximation to this could be obtained by using a two-stage electric action, in which the pallet is opened a little way when the key begins to fall, and then opened fully when the key approaches the limit of its travel. Obviously this is a rather crude approximation but it illustrates the point, and it would certainly confer better musical control than the usual fully open or fully closed operation of most electric actions. A direct electric action magnet with a double coil has been described 5,6 in the literature. The description of the associated control system shows that it uses an electronic transmission, though not necessarily one incorporating MIDI. 

If MIDI was used in this or any other system to achieve proportional control, it is likely that key velocity would need to be measured, as it is in even the cheapest commercial synthesisers and electronic keyboards. A common way to measure velocity is to give each key two contacts instead of one. One contact closes when the key begins to fall, and the second when the key has reached nearly the end of its travel. The time between these two events is measured electronically, converted to velocity, and transmitted as a binary number in the associated MIDI message. (In practice velocity can also be measured in other ways, and moreover metallic key contacts might not be used either. Increasing use is being made of contact-less key sensors 5,7.) Unfortunately MIDI imposes limitations on the range and precision of velocity data that can be encoded, with the usual result that very fast or very slow velocities are not transmitted correctly. One consequence of this is that, if the key were to be depressed too slowly, the pipes might not sound at all. You can demonstrate this to yourself easily if you have a synthesiser or electronic keyboard - merely press the keys slowly and see whether they produce any sound. It is possible that an enlightened designer could incorporate means to get round this effect. But what could not be circumvented without much more difficulty is a related problem – which turns out to be yet another source of time delay.

Obviously, the key velocity measurement cannot be completed until it has moved between the two notional contacts referred to above. This means that the associated MIDI message cannot begin to be transmitted until the key has virtually reached the limit of its travel, implying yet another form of delay inherent in the MIDI system. By contrast, in a mechanical action, no matter how slowly the key falls the pipes will begin to sound almost as soon as the key begins to move. So MIDI for classical pipe organs needs to be considerably more sophisticated than for synthesiser use if it is to properly simulate a traditional mechanical action. In making it more sophisticated it is possible the system could no longer be called a MIDI system.

Summary and Conclusions

The main points arising from this article are:

· MIDI is a system developed by and for the popular music industry.

· It is an elegant and flexible realisation of certain data transmission principles which works well in the relatively undemanding musical environment for which it was intended.

· Translating it into the realm of classical music, and expecting musicians of the highest calibre to use it uncritically, might be expecting rather a lot of them.

· Problems inherent with MIDI include choke, when too much data are sent at once, and time delays arising from various sources. The effects from both of these are likely to range from unnoticeable to catastrophic, and it is unpredictable when they will arise and how troublesome they will be.

· Some keyboard tests have been suggested which will demonstrate either the reality of these effects on a particular organ, or show that they are unlikely to be problematical.

· MIDI is likely to be a technical enabler of certain future developments in electric action organs.

If one wishes to avoid MIDI altogether one can obviously do so with a purely mechanical action, provided it does not have electric assistance that might rely on MIDI. An old-fashioned electric action with one wire from each key to each pallet will also not suffer from any of these problems, despite its other inconveniences. If it is mandatory to use an electronic transmission in an electric action, the scheme of Figure 1 might be considered as it does not use MIDI. But care should be taken to use a sufficiently high scanning rate, at least several hundred scans per second, if multiplexing time delays are not to become troublesome.

Finally nothing in this article should be interpreted as "anti-MIDI". Reference has been made several times to the fact that by careful design the severity of the problems highlighted can be reduced. It has also been stated that in an organ which uses MIDI, if you cannot find a way to test it which demonstrates these problems then clearly there is nothing to worry about. Notwithstanding this, there are systems in existence which do exhibit these problems, and the mere fact that terms such as choke and delay are standard parts of MIDI culture confirms that users need to be aware of them. The purpose of this paper has been merely to ensure that all organists have this level of awareness.

Notes and References

1. There are libraries full of literature devoted to MIDI. Unfortunately much of it is technically inaccessible except to specialist designers, and virtually all of it deals with the pop music scene. However a good but inexpensive introduction to MIDI at a slightly more technical level than that used here is A Beginner’s Guide to MIDI by R A Penfold, Babani Publishing Ltd, London 1993.

2. "Electronic Transmission Systems", Organists’ Review, August 1999, C E Pykett.  

Also currently on this website (read).

3. "Where are the dreamers of dreams?", The Organ, August 1998, B Hick

4. "Touch sensitivity and transient effects in mechanical action organs", Organists’ Review, November 1996, C E Pykett.

Also currently on this website (read).

5. "A Proportional Electric Action for Slider Soundboards", The Organbuilder, September 1998, P Robert

6. "Soundboard", Organists’ Review, February 1999, J Norman

7. "Look – No Contacts", The Organbuilder, November 1999, D Levey & J Norman

8. "A MIDI Pedalboard Encoder", C E Pykett 2004, currently on this website (read).